Wii | Nintendo | 100% RETRO | EN

Nintendo Wii, the innovative console that democratized home video games. Released on November 19, 2006 in the United States, Nintendo’s seventh-generation console outsold its contemporaries, the Xbox 360 and PS3.
Following the path that the Nintendo DS started, Nintendo distanced itself from the war of polygons and frames per second, opting to expand the video game market to families, with a formula based on the new gameplay of its Wiimote controls (Wii remote). and a catalog focused on casual players.
| COMPANY: | Nintendo |
| CONSOLE GENERATION: | 7TH GENERATION OF CONSOLES |
| RELEASE DATE: | November 19, 2006 in the United States December 2, 2006 in Japan December 8, 2006 in Europe |
| GAMES CATALOGUE: | 1,648 in physical format (+ digital) |
| SOLD UNITS: | 101.6 million units worldwide |
| LAUNCH PRICE: | US$249 in the United States (with Wii Sports) 25,000 yen in Japan €249 in Europe (with Wii Sports) £179 in the UK (with Wii Sports) |
| PROCESSOR: | IBM PowerPC Broadway @ 729 MHz |
| FORMAT: | DVD-ROM (Wii Optical Disc -RVL-006- 4,7/8,54 GB) MiniDVD (GameCube Game Disc -DOL-006- 1,46 GB) Digital |
| BUY IT ON EBAY: | https://ebay.us/XtS0Cr |
- History of the Wii.
- Models of the Nintendo Wii.
- Wii prototypes on the Game Cube.
- Price of a Wii console. How much?
- Collect the Nintendo Wii.
- Buy a Nintendo Wii.
- TOP Retro: Best Wii Games.
- FAQ Wii.
- Technical characteristics of the Nintendo Wii.
- Original post from 2005.
Nintendo Wii, the console that conquered the world
Wii is one of Nintendo’s most successful consoles, with more than 100 million consoles sold, it ranks well above classic Nintendo consoles such as the Super Nintendo or the Famicom itself. The Wii was a commercial success for the Kyoto company, complementing the business with a good assortment of peripherals that improved the gaming experience.
But far from what it may seem today, Nintendo made a big bet with a system like the Wii, at a time when it was in its lowest hours at a domestic level against the giants Sony and Microsoft, gaining ground in a market in which it had reigned since 1983.

Background of the Wii
Despite the image of success that we have always associated with the Nintendo brand, the truth is that since its 16-bit console, the SNES, Mario’s company had not been able to repeat its success in the domestic market:
The Virtual Boy was a machine that by no means lived up to expectations, while the powerful Nintendo 64 was released too late and in the wrong format, the cartridge. This fact caused Sony and its first PlayStation to cover a large market share, and what turned out to be worse for Nintendo, it was shown that the PS1 was a great console, which eliminated the supposed reasons for which they were still waiting for the next-gen. from nintendo.
Nintendo 64 was a great console, but it was relegated to second place as Sony and its 32-bit Playstation sold a whopping 102 million units. Sony was here to stay, with the great achievement of expanding the video game market to an adult audience… Nintendo and its apparent universe of children’s aesthetics were in serious trouble.
The sixth generation of consoles was not much better for Nintendo, contemplating how a video game giant like Sega was withdrawing from the battle, with the Dreamcast being its last home console, Nintendo chose to offer its followers the Game Cube, a magnificent video game console. compact design, MiniDVD format and great power over the PlayStation 2 in terms of technical features. The business result? Ominous, let’s see the figures:
| CONSOLA | UNIDADES VENDIDAS | COMPAÑIA |
| PlayStation 2 | 155 millones | Sony |
| Xbox | 24 millones | Microsoft |
| Game Cube | 21 millones | Nintendo |
| Dreamcast | 10 millones | Sega |
Sony swept everything by making the Playstation 2 the best-selling video game console to date (2023). The potential audience for video games had grown and Nintendo with its childish image was in serious trouble. As if this were not enough, Sony dared to attack Nintendo in its most successful feud, that of portable consoles.
Since 1989, Nintendo and the Game Boy system had had absolute supremacy in the portable market: The original Game Boy, Game Boy Pocket, Game Boy Color and the Pokemon phenomenon, the jump to 32 bits of the Game Boy Advance… Nintendo had imposed itself on all its rivals under the Game Boy brand. As portable consoles were considered in those years, initiation systems, being cheaper machines than home consoles, they were perfect for the young public with which Nintendo had experience… But the years passed and the market changed.
Driven by the overwhelming success of its PS2, Sony correctly analyzed the portable video game market, concluding that there was a great business opportunity: A 128-bit portable console for an adult audience, in December 2004 the world would receive the SONY PSP, all the power of the PlayStation brand in our hands. But this time, Nintendo had done their homework.
The announcement of the PSP caused Nintendo to have to replace the Game Boy Advance early, forcing Sony and Nintendo’s development teams to launch their new consoles as soon as possible and gain the largest market share. Both consoles were released at the end of 2004. The months leading up to the launch of the PSP and Nintendo DS were crazy, both companies did their best and we were able to witness one of the greatest battles in video games. After all, Sony was attacking Nintendo’s last stronghold.
But Nintendo had learned the lesson, far from entering into a crude war of polygons, colors and frames per second, also aware of the great loyalty of adult players and “hardcore gamers” that the PS1 and PS2 had achieved, Nintendo chose to innovate and expand the market like never before: If previously Sony’s great achievement had been to keep and re-engage veteran gamers, Nintendo conquered a whole new audience for video games, the female and the mature and old age.
Your cousin, your mother, your grandmother, those 50-year-old uncles you only see in the summer, ALL ended up buying a Nintendo DS to read graphic novels, practice calligraphy, play Sudoku and most importantly, train their brains with Brain Training. MASTER PLAY, Nintendo maintained its feud and confirmed the path to follow, its own path.
| CONSOLA | UNIDADES VENDIDAS | COMPAÑIA |
| Nintendo DS | 154 millones | Nintendo |
| PSP | 76 millones | Sony |
Sony managed to penetrate the portable market very successfully, offering a great console for a mature audience, but Nintendo swept everything away and managed to unite all young Nintendo fans and those of us who wanted to try the benefits of dual screens in a single system. tactile, along with a new casual and familiar audience that seemed to have no limit.
Finally, Nintendo had found the formula to face the almighty Sony. The next battle would take place in the domestic market with Microsoft as the new guest fighter.
Nintendo Wii, the revolutionary console

On May 13, 2003 Nintendo revealed that they were already working on the successor to the Game Cube (launched in 2001), a sign of how poorly Nintendo’s 128-bit was performing. A year later, the name of the project was revealed: Revolution.
Little by little, the information was offered little by little, until arriving at the Tokyo Game Show in 2005, where the great Satoru Iwata began to talk about the benefits of the Nintendo Revolution, leaving us this mythical trailer:
Pure HISTORY OF VIDEO GAMES. In just 2 minutes, without showing a single image of a video game, Nintendo conquered the world.
Nintendo had created a marketing masterpiece with this audiovisual piece, focusing on the innovative proposal of its console, promoting by surprise that differential factor that the competition could not even come close to. Nintendo brought us a real revolution with which it changed the rules of the game thanks to controls with movement sensors, which became the fundamental part of the system. The important thing was how we played, Nintendo imposed its message.
Focused on all audiences, we could all fish, hunt, play tennis or ping-pong, become conductors… We would only have to move the controller intuitively, everyone was trained for that… Nintendo was breaking the barriers of access with its new console, the Revolution was really going to become a true revolution.
The hype was served and there was still a long, long time for the console to reach our hands. The wait experienced during those months was exasperating for many players: Nintendo’s promise was so great, so original, so perfect, that in our heads we couldn’t do more than magnify it to infinity. The Wii may have had the best marketing campaign ever.
Virtual Console, WiiConnect24, Mii’s, online, classic controls, DVD format, backwards compatible, peripherals in the shape of a steering wheel, new videos that made us imagine ourselves with katanas or rifles from WWII, announcement of “Wii” as the official name of the console (April 28, 2006)… The news kept rolling over the months until November 19, 2006, when the Wii was released in the US for $249.99 with Wii Sports.
In less than 3 weeks the Wii had already been released worldwide… And the world picked up the Wiimote, strapped on and started playing tennis, golf, bowling and boxing in their living room. But we wanted more, much more. The Wii was launched with 22 video games and the public went for all of them looking for new experiences.
| The 22 launch games for the Nintendo Wii: |
| Call of Duty 3 |
| Madden NFL 07 |
| Avatar: The Last Airbender |
| Barnyard |
| Cars |
| Dragon Ball Z: Budokai Tenkaichi 2 |
| Excite Truck |
| The Grim Adventures of Billy & Mandy |
| GT Pro Series |
| Happy Feet |
| The Legend of Zelda: Twilight Princess |
| Marvel: Ultimate Alliance |
| Monster 4×4: World Circuit |
| Need for Speed: Carbon |
| Rampage: Total Destruction |
| Rayman Raving Rabbids |
| Red Steel |
| SpongeBob SquarePants: Creature from the Krusty Krab |
| Super Monkey Ball: Banana Blitz |
| Tony Hawk’s Downhill Jam |
| Trauma Center: Second Opinion |
| Wii Sports |
We wanted to operate in an operating room, we needed to have a sword in our hands, we prayed to drive an NSX, we trembled to face the Nazis with our rifle behind the sofa and we dreamed of throwing a Kamehameha with all our vital energy... After all After all, we had trained our whole lives for this, now it was time to live it. The players swept the shelves... And the joys began... And the disappointments.
The gaming experience

The first disappointment was to check its graphic quality, with an Xbox 360 already on the market imposing HD and LCD televisions on the rise, the definition of 480p fell very short for all of us who had already made the investment in a 1080 LCD .
Regarding the benefits, the disappointment was greater: it was enough to put a Call of Duty 3 to see that there was no generational leap in the technical section. It is true that Nintendo had not announced great features, but when it was launched 1 year later than the Xbox 360, all gamers took it for granted that the graphic quality and features would be, at least, comparable to their seventh generation contemporaries. But no, the Wii was a Game Cube 1.5.
And the gaming experience? And the controls? And the revolution? Let’s see, once we assumed that the console was technically inferior to its competitors, the gaming experience depended greatly on the game we played:
As expected, Nintendo knew how to lead the way and show through its games all the benefits of its new controllers, offering us in most of its games a control and game experience according to the expectations generated. We found the problem with third-party companies, many of which unsuccessfully tried to adapt classic games and mechanics to a new control system, with highly disappointing results for players.
Objectively, with the technology of 2005 it was impossible for the Wii to meet the expectations created in its advertising campaign, which basically let our imagination run wild. But little by little, year after year, the Wii was finding its place and positioning itself against its competitors: Wii offered an alternative to the classic and sedentary game, welcome to the wonderful world of Nintendo, 2nd Round.
Continuing with the strategy used in the Nintendo DS and the training of our brains, Wii was soon presented as the console for non-sedentary players (or those who wanted to stop being so), a factor that was greatly enhanced with the arrival of the WiiFit. Nintendo had done it again and our mothers, cousins and grandmothers joined the fashion of training the body and balance.
For lifelong gamers, Nintendo offered us a totally unique and unmatched gaming experience, which was refined over the years and improving proposal after proposal (and peripheral after peripheral). Although the initial hype caused a bad taste in our mouths, over time we players learned to use the Wii appropriately, accept it and make it compatible with other more powerful systems.
It's true that for many experienced (and lonely) gamers the Wii spent much of its life in the closet, but make no mistake: The Wii became the undisputed queen of family and friends gatherings, it was specifically designed for offline multiplayer: I have literally seen my grandparents and uncles play golf, I have been scared with a "flashlight", I have cried with laughter with the minigames of Wario and my friends, I have opened a safe, I have looked for a vibrator control throughout the house, I have lived a thousand moments and unique experiences that I had never lived before... The Wii in company offers a unique experience, becoming in one of the best consoles to enjoy with family and friends.
And this is the summary of the Wii gaming experience during its years of life, the Wii was the perfect console to play with family or friends (with a couple of beers preferably). If you were a lone gamer who prioritized graphics, the Wii would quickly end up in the closet.
The seventh generation console war
The console war has been going on since the early 70s, offering us from time to time episodes as magnificent for the industry and users as the one experienced in the seventh generation. In this generation, the undisputed winner at the hardware level was Nintendo and its Wii, well above its competitors, as you can see in the following table:
| CONSOLS | SOLD UNITS | COMPANY |
| Wii | 101,6 millones | Nintendo |
| PS3 | 87,4 millones | Sony |
| Xbox 360 | 85 millones | Microsoft |
Even though Nintendo was the big winner, what is significant about this generation is the enormous number of consoles that were sold, overwhelming numbers that can only be explained in one way: In addition to expanding the market by Nintendo, in this generation a large number of players chose to have 2 consoles of the same generation.
While Sony and Microsoft were involved in one of the bloodiest battles based mainly on technical features and exclusivities, with users being the main beneficiaries, Nintendo went its own way without participating in any battle, it was too different, it offered us another experience and directly I played in another league.
This new proposal from Nintendo, together with the exclusivities of the Nintendo universe (Mario and company), made it possible for players to have two objectives to acquire, in one of the longest generations in history: An Xbox 360 or PS3 and a Wii… And that both Sony and Microsoft tried to join the movement recognition trend, incorporating similar functions into their machines and controllers, even launching specific products such as the PlayStation Move and the Kinect… But they failed.
For different reasons, neither one nor the other had the expected success, being perceived by a large part of the users as recognition and prostration by Sony and Microsoft, in the face of Nintendo’s innovation. The general public interpreted these forced launches as a copy, staying directly with the original.
The casual market and lifelong gamers

Wii conquered the world, expanded the player market to new heights, reaching a casual audience that we never imagined, which was tremendously positive. But adding an audience so different from that of regular players also had an unexpected effect: Millions of consoles were left with only Wii Sports…
In other words, millions of players needed the Wii Sport or similar, to play from time to time or with the family (exactly the same as those who only play FIFA). This fact was offset by the large number of games that regular gamers acquired in search of new experiences, but without a doubt the Wii is one of the most polarized consoles in terms of audience in the history of video games.
If we add to this fact, that many experienced players were looking for more mature gaming experiences (and better graphics), spending their hours with the PS3 or 360 controllers in their hands, we can affirm that millions of other Wii consoles went to dust the closets of half the world…
Despite being a great console, the Wii took a back seat to more experienced gamers. And even so, it offered millions of hours of fun and laughter with a multiplayer offline-oriented catalog, which is undoubtedly its forte. Once the novelty of motion control was overcome, playing together was the best option.
The Nintendo Curse
The Wii video game catalog is immense, as is the number of consoles sold. Consequently, one may think that launching a video game on the Wii was synonymous with becoming a millionaire, but nothing could be further from the truth:
Due to the difficulty of correctly incorporating the new controls into Nintendo console games, the Wii suffered like no other console from the Nintendo curse, a curse suffered by non-Nintendo (third-party) developers, which states: ” Nintendo users mostly buy Nintendo games.” Let’s check it:
| Nº | Game | Total copies sold | Developer | Distributor |
|---|---|---|---|---|
| 1 | Wii Sports | 82,8 millions | Nintendo EAD | Nintendo |
| 2 | Mario Kart Wii | 37,2 millions | Nintendo EAD | Nintendo |
| 3 | Wii Sports Resort | 33,1 millions | Nintendo EAD | Nintendo |
| 4 | New Super Mario Bros. Wii | 30,2 millions | Nintendo EAD | Nintendo |
| 5 | Wii Play | 28,0 millions | Nintendo EAD | Nintendo |
| 6 | Wii Fit | 22,6 millions | Nintendo EAD | Nintendo |
| 7 | Wii Fit Plus | 21,1 millions | Nintendo EAD | Nintendo |
| 8 | Super Smash Bros. Brawl | 13,2 millions | HAL Laboratory | Nintendo |
| 9 | Super Mario Galaxy | 12,7 millions | Nintendo EAD | Nintendo |
| 10 | Wii Party | 9,3 millions | Nd Cube, Nintendo SPD | Nintendo |
Of the top 10 best-selling Wii games, 10 are from the Nintendo universe and developed by Nintendo itself (Hal is considered a second-party). Ten games with figures that gave Nintendo multimillion-dollar benefits, just with these games, a real madness. Let’s see what happens in the following games.
| 11 | Mario Party 8 | 8,8 millions | Hudson Soft | Nintendo |
|---|---|---|---|---|
| 12 | Super Mario Galaxy 2 | 7,4 millions | Nintendo EAD | Nintendo |
| 13 | The Legend of Zelda: Twilight Princess | 7,2 millions | Nintendo EAD | Nintendo |
| 14 | Mario & Sonic at the Olympic Games | 7,0 millions | Sega Sports R&D | Nintendo/Sega |
| 15 | Donkey Kong Country Returns | 6,5 millions | Retro Studios, Nintendo | Nintendo |
| 16 | Link’s Crossbow Training | 5,7 millions | Nintendo EAD | Nintendo |
| 17 | Mario & Sonic at the Olympic Winter Games | 5,6 millions | Sega Sports R&D | Nintendo/Sega |
| 18 | Just Dance 2 | 5 millions | Ubisoft Paris | Ubisoft |
| 19 | Animal Crossing: City Folk | 4,3 millions | Nintendo EAD (Grupo 2) | Nintendo |
| 20 | Super Paper Mario | 4,2 millions | Intelligent Systems | Nintendo |
With the next ten games, from 11 to 20, we see how new developers are incorporated, but 9 out of 10 games continue to belong to the Nintendo universe, being developed by them or licensed. Nintendo remains the undisputed queen of software sales with the only addition being Just Dance 2.
To speed up this sample, we’ll go straight to the most significant segments, let’s stick with number 30.
| 30 | Epic Mickey | 2 millions | Junction Point Studios | Disney/Nintendo |
|---|---|---|---|---|
| 31 | Deca Sports | 2 millions | Hudson Soft | Hudson Soft/Konami |
| 32 | Resident Evil 4: Wii Edition | 2 millions | Capcom | Capcom/Nintendo/THQ |
| 33 | Michael Jackson: The Experience | 2 millions | Ubisoft | Ubisoft |
| 34 | Guitar Hero World Tour | 1,3 millions | Vicarious Visions | Activision |
| 35 | Pokémon Battle Revolution | 1,2 millions | Genius Sonority | Nintendo |
Here yes, we see how from this issue the third-party companies place their games but look, the figures for sales units have nothing to do with the top 20 positions, the big piece of the pie goes to Nintendo. Let’s keep going…
| 40 | Mario Sports Mix | 1,5 millions | Square Enix, Nintendo SPD | Nintendo |
|---|---|---|---|---|
| 41 | Metroid Prime 3: Corruption | 1,4 millions | Retro Studios, Nintendo | Nintendo |
| 42 | Wii Play: Motion | 1,2 millions | Nintendo | Nintendo |
| 43 | Mario Super Sluggers | 1,2 millions | Namco Bandai Games | Nintendo |
| 44 | Monster Hunter Tri | 1,9 millions | Capcom | Capcom |
| 45 | EA Sports Active | 1,8 millions | Electronic Arts | Electronic Arts |
¿Pensabais que ya no había más Nintendo? Del 40 al 45 Nintendo mete sus zarpas, ya sean propias o mediante licenciatarias con 4 de 6 títulos… Impresionante.
| 50 | We Ski | 1.2 millions | Namco Bandai Games | Namco Bandai Games |
|---|---|---|---|---|
| 51 | Rayman Raving Rabbids | 1.2 millions | Ubisoft Montpellier | Ubisoft |
| 52 | Game Party 2 | 1 millions | FarSight Studios | Midway |
| 53 | Rock Band | 1 millions | Pi Studios | MTV Games/Electronic Arts |
| 54 | Red Steel | 1 millions | Ubisoft | Ubisoft |
Below the 54th position, those games are located below a million units, a figure that is not insignificant but that is far from the top positions. For example, well-known games such as Red Steel, Rock Band or Rayman Raving Rabbids, sold far fewer units than Wii Sports Resort, Wii Play or Wii Fit… Quite a blow for external developers.
This "curse" undoubtedly makes any developer think twice before launching a game that requires a large investment on a Nintendo console: If Nintendo users mostly prefer Nintendo products, why spend large resources Knowing that sales will be lower than expected on other consoles?
This fact, coupled in the case of the Wii with its lower technical features, led to two clear trends on the part of the third-party:
- With Triple A games: Most were released on the PS3 or Xbox 360 exclusively, as players who owned the Wii and another console would normally always go for the technically superior version of a game, i.e. PS3 or Xbox 360, while players who only had a Wii would statistically prioritize Nintendo games over other offers.
- The Wii catalog in general, was filled with very cheap games to produce, simple and usually based on simple mechanics, having in comparison a much lower quality than those made by Nintendo.
It is true that if we only look at the data of one generation, it may seem like the perfect move for Nintendo: Selling the hardware and most of the software is a perfect business… But if we look at it in perspective, not offering your users the better games that they can enjoy on other consoles, it is too great a wear on the brand image, which takes its toll over the years.
This curse has been repeated to a greater or lesser extent with all Nintendo consoles, which is why it is one of the recurring problems that Nintendo faces with each launch: how to convince users that “this time yes”, their console will have the best third-party games?
The current gaming experience. How has the Wii aged? Is it still playable?

Let’s be clear, to enjoy the Wii today we need an image converter to HDMI HD 1080P, our pampered eyes accustomed to 4K, will not accept less than that on a console whose graphics are far from the nostalgic 16-bit style pixels.
There are multiple ways to improve the image quality of the Wii, in the link below we have shared one of the cheapest. For a few euros we will witness what a Wii 2.0 would have been, the most purists will prefer analog converters or other products, but when you see the sale price you will understand why we have selected this type of converter.

Once we have adapted our console to the new times, we can affirm that the Wii with its vast catalog is an exceptional console, perfectly playable today and ideal for the little ones in the house, especially as a starter console.
At any family party or meeting with friends, the Wii will continue to be a great option to have a fun, endearing or downright great time (depending on the company and alcohol in your blood). Its proposal continues to be extremely interesting and unique (except for the Wii U), despite the fact that other consoles have integrated motion sensors in their controls, the return to the pads of a lifetime is a fact, leaving the Wii as a console with a unique and different proposal from the rest of the consoles.
Models of the Nintendo Wii
As usual in successful consoles, the Wii was updated during its commercial life with different models, adapting to the needs of the market:
Model RVL-001

Launched in November 2006, it is the first model of the console, being in turn the most popular. With the serial number prefix “LU” or “CB”, it is the most complete console of the 3 models:
- It can be placed horizontally or vertically.
- It has Game Cube controller inputs.
- It has a Game Cube memory card input.
- It is backward compatible with Game Cube games and discs.
- Compatible with Game Cube accessories.
Model RVL-101:

Launched in October 2011, it responds to the typical revision that hardware companies carry out to their successful products, in which those functions that are less used are eliminated, in addition to using cheaper components. The serial number prefix is “KU” or “KB”. The console is practically identical to the first version, except for the following aspects:
- It does not have Game Cube controller inputs.
- It does not have Game Cube memory card inputs.
- It is not compatible with Game Cube video games or accessories.
- This model is designed to be horizontal.
As you can see, this model is essentially a Wii, eliminating any hardware retrocompatibility, an aspect that is irrelevant for most players but that for lovers of retro video games and especially Game Cube is a considerable negative point.
Wii Mini (model RVL-201)

Launched at the end of 2012 in Canada and later in the rest of the world, the Wii Mini is a Wii reduced to its minimum expression, with the shortcomings that this entails but with a few advantages:
- It is the cheapest Wii of all those released.
- Includes a Wii Motion Plus Remote as standard.
- The serial number is prefixed with “HW”.
- Its design is clearly different from that of its sisters, with smaller dimensions.
- All online features have been removed.
- It does not have inputs for Game Cube controllers or memory cards.
- It is not compatible with Game Cube games.
- It does not have an SD input.
- It does not have its own multimedia functions.
- Disc top loading.
This console was designed to be the cheapest Wii of all, offering a very affordable product for those people who had not yet made the “leap” to Nintendo’s new playable proposal. Although it may be interesting for certain players, it is much more interesting to buy a second-hand original Wii than its Mini version.
Wii Prototype on the Game Cube

Despite being a great success, since its launch the Wii received numerous criticisms in relation to its lack of graphic power, despite the fact that Nintendo had chosen another path, seeking to offer new experiences and ways of playing before the traditional battle of polygons per second. , developers and the public missed more features to be able to keep up with their competitors.
And they were right. The rumor that the inside of the Wii was nothing more than a Game Cube 1.5 spread like wildfire, coming years later to make sense through two ways, one of them official… Let’s get to know the Wii prototype:
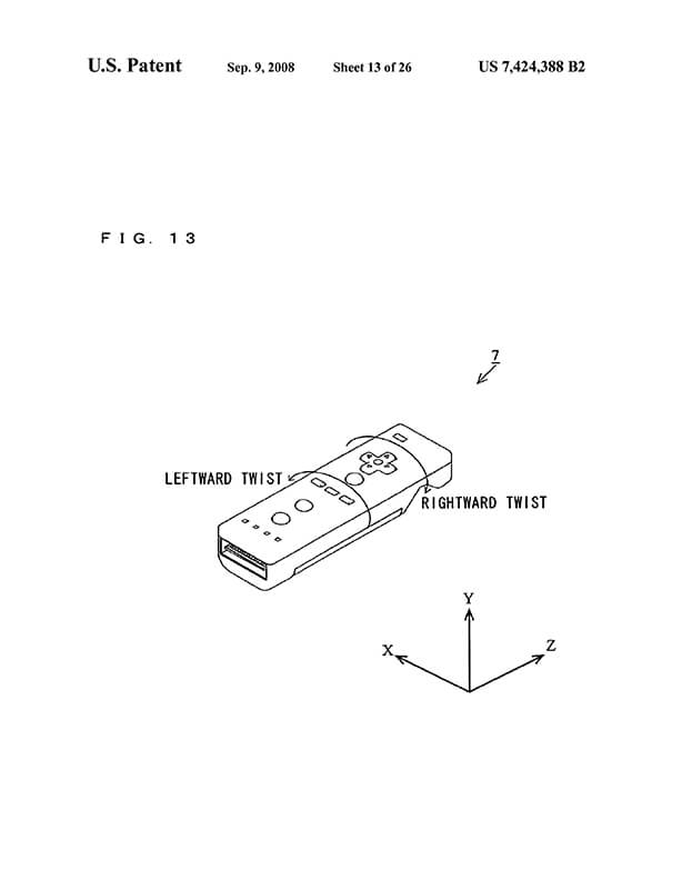
The images that accompany us correspond to US patent 7,424,388 B2, registered on April 19, 2006 in the United States Patent Office (approved later), with Kenta Sato of Kyoto as inventor, property of Nintendo Co ., Ltd. The patent in question is “MOTION DETERMINING APPARATUS AND STORAGE MEDIUM HAVING MOTION DETERMINING PROGRAMISTORED THEREON”, which literally translated means: MOTION DETERMINING APPARATUS AND MEDIUM STORAGE HAVING MOTION DETERMINING PROGRAMMED THEREON.

In other words, we are seeing the patent for the main concept of the Wii, its controls and their movement control, the base on which the entire Wii universe revolved... In a Game Cube. Yes, the original concept of the Wii came about as an accessory to the Game Cube, such a revolutionary accessory for a console so commercially dead, that Nintendo evidently very wisely chose to launch it as a new video game console.
The Wii prototype worked in a very similar way to the final console, but with a few differences:
- It was necessary to insert a signal receiver in the console, in the control port.
- The well-known TV bar was seen as 2 independent position followers to better capture depth.
- The controller, although very similar, has slight differences in the buttons and type of input.
Had this prototype been released as an accessory to the Game Cube, the Wii could have been a simple accessory that would have gone unnoticed by most gamers, but wise vision and business decisions led to the success story we know.

Years later in 2018, a prototype of the Wii controls on the Game Cube with very limited functionality could be seen on social networks. Not being confirmed by Nintendo, we cannot ensure that they were real, but since there was a patent previously, it would not be unreasonable to think that it was a working prototype.
And regarding technical performance? Is the Wii a Game Cube 1.5? No not really. Despite being clearly the starting point at the hardware level and not having a great generational leap in performance, the Wii is superior in many more technical aspects. Actually, this rumor is mainly due to their processors, as the Wii has an IBM PowerPC Broadway @ 729 MHz and the Game Cube has an IBM PowerPC Gekko @ 486 MHz, hence the “1.5” in which many others are not taken into account. aspects of great importance.
The price of the Wii console
Regarding the price of video game consoles, at Infoconsolas we always like to give data in context. On this occasion we see the starting price of the Wii before its direct competition, as well as the previous consoles, in this way we can get an idea of what the outlay of 249 US dollars meant in its time.
| CONSOLE | LAUNCH | PRICE | COMPANY |
| Nintendo 64 | 1996 | US$199.99 | Nintendo |
| Dreamcast | 1998 | US$199 | Sega |
| PlayStation 2 | 2000 | US$299 | Sony |
| Game Cube | 2001 | US$199 | Nintendo |
| Xbox | 2001 | US$299 | Microsoft |
| Xbox 360 (Core) | 2005 | US$299 | Microsoft |
| PlayStation 3 (20GB) | 2006 | US$499 | Sony |
| Wii | 2006 | US$249 | Nintendo |
Very much in the historical line of Nintendo, the launch price of its consoles has always been one of the cheapest, as is the case with the Wii. The most curious thing about this list is to see how the sum of a basic Xbox 360 plus the Wii cost approximately the same as a PS3, this being a combo that many of us did.
Collecting the Nintendo Wii

Considering the large number of existing units, does it make sense to collect the Nintendo Wii? Yes, of course you have:
The Wii is the pure history of videogames and Nintendo, a machine that revolutionized the market and showed us a new path that was much friendlier and more accessible within a hobby that was becoming “professionalized” based on the evolution of genres and mechanics. Any self-respecting collection of retro consoles deserves to have a Nintendo Wii.
As collectors, currently (2023) we can have the false perception of being in front of a console of little value due to the large number of units sold, but it is enough to look at the prices of consoles like the Game Boy to know that over the years, the nostalgia factor will arrive. And what’s worse, many of these home consoles will have ended up at the bottom of a garbage or recycling container.
Regarding its catalogue, as collectors we will find in it an endless number of unique and valuable proposals, as well as hundreds of games of dubious quality. Consequently, and as we always recommend, from Infoconsolas we invite you to enjoy the adventure of retro collecting by doing a good job of research, selecting the most representative video games of the system and knowing very well the market price of each one of them. Only then can you be aware of whether you are buying at a market price. And with that said… Good hunting!
Buy a Wii
If your intention is to buy a Nintendo Wii you are in luck, due to the large number of units sold the price of the Wii is still very cheap compared to other systems. In the following announcement you will see an updated list of prices for the Nintendo console, both new and second-hand, with or without a box. Look and continue.

As you may have seen, there are Wii consoles for all tastes and prices, from new Wii perfectly maintained with its box and manual, to individual consoles at ridiculous prices for a machine that, remember, was launched in 2006. As usual, if your intention is to buy a Wii to play, for very little money we can enjoy this system. If, on the other hand, what you want is to preserve the console as it was on the day it was launched… The Nintendo machine has already begun to raise prices on this level of collecting.
STOP COLLECTOR! If you’ve seen the console listing on eBay, I want to say THANK YOU. Since 2004, the objective of Infoconsolas is to contribute to preserving the history of consoles and video games through our own collection of systems and the hours of work invested in this very website.
Being an eBay partner listing, if you buy a game or console, you will be helping Infoconsolas in the preservation of video game culture, so thank you very much again!
TOP: Best games on the Wii console
At Infoconsolas, for some time now we have relied on what we consider to be the best exponents within the retro community, to offer the selection of the best games in our analysis. On this time, we turn to Mr. Jarm and his “TOP 20 Nintendo Wii according to THE COMMUNITY”, a magnificent selection that shows us that the Wii is a console on a par with the largest with a large cast of exclusivities and essentials.
Resident Evil, Marios, Pandoras Tower, Kirby, Donkey Kong, Zeldas, Numarasa, The Last Story, Dragon Ball Z… The Wii catalog is overwhelming, and within its hundreds of games we have endless wonders, in this video we have been able to see 20 games, but as you will understand there are many more “great games” and many more lists!
FAQ Wii
Here you have the most frequent curiosities, questions and answers about the Nintendo Wii console:dimetilsulfuro-es.translate.goog
When was the Wii released?November 19, 2006 in the United States, December 2, 2006 in Japan, and December 8, 2006 in Europe.
How much did the Wii cost at launch?The Wii’s starting price was US$249 in the US (with Wii Sports), 25,000 yen in Japan, €249 in Europe (with Wii Sports), and £179 in the UK (with Wii Sports).
How many commercial video games have been released for the Wii?1648 in its physical versions.
What is the last commercial video game released for the Nintendo Wii?Retro City Rampage DX and Shakedown: Hawaii, released in physical format on July 9, 2020.
Is the Wii region free?No.
What generation of consoles does the Wii belong to?To the seventh generation of video game consoles.
What format of games does the Wii have?DVD-ROM (Wii Optical Disc -RVL-006- 4.7/8.54 GB), MiniDVD (GameCube Game Disc -DOL-006- 1.46 GB) and Digital.
What does wii mean?Wii is pronounced like “we” in English, we.
Is the Wii console a retro video game console?Yes, the years go by, it was launched in 2006.
Was the Wii released worldwide?Yes.
How many units did the Wii sell worldwide?101.6 million consoles worldwide.
How many units did the Wii sell in Japan?12.75 million units in Japan.
How many units did the Wii sell in the United States?48.6 million units in the United States.
What is the best selling game on the Wii?The Wii Sports with 82.9 million units, which was initially included in the launch pack (except in Japan and South Korea).
What is the second best selling game on the Wii?The Mario Kart Wii with 37 million units sold.
Can you play online with the Wii?Yes, of course.
Has the Wii aged well?Good, but you need an adapter cable to HDMI that will convert the signal to 1080.
Can you rewrite a Wii DVD-ROM?No.
Is the Wii backwards compatible?Yes, with the Game Cube in physical format and with the Nintendo consoles in digital.
Is the Wii backwards compatible?Yes.
Does the Wii have HDMI output?No.
Did the Wii have an online payment service?No.
Are the Wii remotes wireless?Yes.
Do the Wii remotes work with batteries?Yes, with two AA. Lithium batteries can be adapted as peripherals or rechargeable batteries.
Did the Wii have Blu-ray Disc?No.
Does it have SD memory card input?Yes, it can be used as external storage.
Did the Wii have Wifi?Yes, but with a peripheral.
Technical characteristics of the Nintendo Wii
Here you have the technical characteristics of the retro video game console Wii extracted from Wikipedia:
- CPU: Broadway
- Architecture: PowerPC G3 750CL type
- Clock frequency: No official data.
- Process technology: 90nm SOI CMOS process.
- Co-designed by: International Business Machines Corporation (IBM)
- LSI system: Hollywood
- Dual chip structure consisting of ‘Vegas’ and 1T-SRAM ‘Napa’ chip.
- Implementation of the GPU function
- Onboard DRAM Capacity: 3MB eDRAM
- Process technology: 90nm DRAM embedded CMOS process
- Co-design: ATI Technologies (now AMD)
- Manufacture: NEC
- Screen:
- Standard output resolution: 480i and 480p.
- Supported screen ratios: 4:3, 16:9.
- Built-in main memory:
- Architecture: 1T-SRAM
- Size: Undisclosed (24 MB)
- Manufactured by MoSys. 1T-SRAM is a kind of pseudo SRAM. 1T-SRAM is also installed on the Nintendo GameCube.
- Memory:
- GDDR3 architecture.
- Capacity: Undisclosed (64 MB).
- Built-in flash memory:
- Capacity: 512MB
- Format:
- Slot method (self-loading)
- Manufacture: Panasonic
- 12cm Optical Disc for Wii (Single/Double Layer Disc)
- Capacity: 4.7 GB (1 layer) and 8.51 GB (2 layers).
- 8cm optical disc for Nintendo GameCube.
- Capacity: 1.5GB.
- Communication function:
- Wireless LAN (manufactured by Broadcom)
- Match rule
- Support WEP, WPA (AES/TKIP), WPA2 (AES) as encryption format
- Nintendo proprietary protocol (used for communication with Nintendo DS)
- Bluetooth 2.0 (not EDR compliant) (manufactured by Broadcom)
- Wired LAN connection is possible with the separately sold Wii LAN Adapter. The standard only supports 10BASE-T.
- Supported game software platform: Game Cube.
- Interface:
- USB 2.0×2
- SD memory card slot x 1
- 4 controller ports for Gamecube
- Memory card slot for GameCube x 2
- AV multi output terminal x 1
- Sensor Bar Connection Terminal x 1
- Body Dimensions:
- Width: 44mm
- Height: 157mm
- Depth: 215.4mm
- Body mass: about 1.2 kg
- Main Unit Bracket Dimensions:
- Width: 55.4mm
- Height: 42mm
- Depth: 225.6mm
- Support mass dedicated to the body: about 137 g
- Manufacturing/Assembly: Foxconn.
Original Nintendo Wii article in Infoconsolas, year 2005
Infoconsolas is a website launched in 2004, so many articles have been created since its inception. In the case of the Nintendo Wii, we have considered it very interesting to keep the original article on the console, published in 2005 originally in HTML (which was updated). As you will see, it was a time when the console had not yet been launched, so we can see first-hand the expectations and the subsequent first contact. We hope you like it!
The Nintendo Revolution was presented by Nintendo at E3 2005, Nintendo revealed part of the features of its new console.
RELEASE DATE: 2006 Japan, 2006 North America and 2006 Europe.7TH GENERATION
In a few days we went from a large number of Internet user rumors regarding the new consoles from Nintendo, Sony and Microsoft, to a large number of official information from large companies.
The advertising battle between the next generation consoles was enormous, since that moment the “Big 3” have not stopped trying to convince us all of which is the best console. Without a doubt, all of them have a lot at stake in the battle of the “new generation”.
In this article we will analyze the Nintendo console from its project phase until after its launch at the end of 2006, from a global point of view, as we are used to doing at Infoconsolas.com
Nintendo Wii: Revolution and its great unknown.
Nintendo is a company with more than 100 years of experience, and in the video game sector it is today the oldest (that continues to manufacture consoles). All that experience has been used for its new console, whose code name was until a few months before its launch, Revolution. Thanks to Nintendo’s great advertising campaign, based mainly on secrecy and the Revolution code name, Nintendo got the entire community of video game fans, and much more, its competition, eager to know what the final Revolution would be like. , filling forums, websites and pages of specialized magazines with ideas and suppositions.
Nintendo did a risky but tremendously productive marketing. With the statements of those responsible for the Revolution project, they left us all wondering how the Revolution would be played, and it was not for less, since Nintendo announced that its new console would not be played with controls (pads), as we are accustomed, but with something totally new. Nintendo assured that it would revolutionize the video game market and would take it to all audiences…
As you can see they could not choose a better cover letter for their new console.
Nintendo’s marketing strategy only had one negative point (remarkable):
Nintendo had to pleasantly surprise everyone after all the expectations it had managed to create with its revolutionary new console.
The Revolution project becomes a reality: Nintendo Wii
After a long time of keeping the entire video game community aware of the Revolution project, receiving the news with droppers, as well as the images of the console itself and its video games, when we already had a conceived idea of what the Revolution would be, Nintendo did work of his experience in the sector and revealed the final name of his new video game console, the Nintendo Wii
We commend Nintendo’s experience with the name change based on 2 aspects:
The Wii Concept:
Wii is a name that you may like more or less than “Revolution”, but like the name of the project, “Wii” has not been chosen at random. Wii is pronounced the same in all the main languages of the planet, anyone who knows a little English will associate it with “We”, that is, “we”, giving an idea of community, together.
But not only this… “Wii” is a new word, and easy to remember, when pronouncing it we automatically think of the new Nintendo console and when reading it, we can see in “Wii” the 2 console controls on both ” Yo”.
Change of strategy:
After knowing the meaning of Wii, we can understand what Nintendo’s marketing strategy is with respect to the Wii, or rather, its continuation. Nintendo already made the revolutionary and innovative concept very clear with its Revolution campaign, with the new name they change direction to explain who the new console is aimed at: everyone, all ages, us.
The nintendo wii
Over the years, consoles improve, evolve and become more complex, just like their games. In the 70’s the revolution was Pong, a game based on 2 bars and a ball that bounced across the screen. Today the consoles are no longer based only on the graphics and number of polygons, the great competition has forced to offer more in the same product. What began back in the 90’s as a fashion for “multimedia consoles” was fully consolidated with 128-bit consoles and the new generation of consoles (Wii, PS3, XBOX 360) have perfected this new factor to take into account. In this sense, Nintendo is committed to having a friendly environment, that is, many more options than simply inserting a disc and playing with the console, but this does not mean that it is necessary to take the telematics degree.
Consequently to the previous paragraph, it is no longer enough to analyze a console based on its graphics and sound, since this is simply one more aspect, we all want to connect to the internet to download or play online or watch our favorite movie, so we will go by parts:
As we have mentioned before, the Wii is designed for everyone, from young to old, the occasional gamer and the “professional”, those who are just starting to play and those who were already getting tired of playing, even for those who have never played. He has tried video games.
According to Nintendo, video games have become exclusive, becoming more and more complex and closing the doors to players of a certain age, who already seem to have run out of rice in the world of video games. Nintendo offers a new opportunity to all these people thanks to its new controls, without forgetting, of course, this one of the most experienced players, who will discover a revolutionary way of playing and will be able to get the most out of it.
Nintendo’s idea is to offer the best gaming experience, to make you part of the video game. All this based mainly on its controls.
The controls of the Nintendo Wii:
History repeats itself, and Nintendo knows more than anyone about that, they have plenty of experience… Many years ago they revolutionized the video game console market with their NES, it was the 80’s and the video game market was in crisis, but Nintendo played its cards well and brought out the ideal console in those circumstances, thanks to the NES, companies, distributors and stores once again trusted the video game business after the Crash of 84′ (If you usually read Infoconsolas.com you already know what we mean, if not you just have to click the link).
Among many qualities, the NES stood out from most of its predecessors for one reason: its controls, of high quality, perfect for video games of that time. More than two decades have passed and in essence, we continue using those same pads, for Nintendo it is time to change, to once again be the forerunners in the video game industry, Nintendo has created the new standard to follow: The Wii Remote ( Wiimote) and the Nunchuk (Nunchako).
The Wii Remote features a triaxial (3-axis, including depth) motion sensor, accelerometer, vibration, built-in speaker, and expansion port. The most important data without a doubt is the movement sensor, thanks to which we can use our controller as a pointer, a sword, a racket or a golf club, simply by moving the controller, imitating the real movement. With the photos you can get a much better idea, just imagine a game of swords, tennis The Wii Remote is capable of recognizing movement in 3 dimensions, not just up right. It is not like the previous peripherals that transformed our movement into a signal of the “x” button, if we make a circle with the controller, it will reproduce exactly a circle, if we dodge a bullet by taking a step to the right or a sword blow by taking a step to Back we will see exactly reflected that movement on the screen. In turn, the Nunchako also has a motion sensor, and the 2 combined controllers exceptionally cover the vast majority of games we are used to and give us the opportunity to discover many totally new ones, as is the case with the Nintendo DS and its touch screen.
Simply incredible, as we said a long time ago at Infoconsolas.com, Nintendo has relied on technology similar to that of the Xavix console (how nice to say it :), but as is normal, due to the passage of time they have expanded and completely improved the concept, taking it to limits that we will take many years to discover, since it offers endless possibilities. This is undoubtedly the greatest exponent of the new revolution.
For all of you who are thinking about how we will play a lifelong Pro (Pes) with the new controller, don’t worry, Nintendo has not forgotten the games of a lifetime and has also released its controller, the Wii Classic, which It gives us the option to play in a more traditional way and the games that we download for the virtual console or other Wii titles that, due to their mechanics, do not adapt well to the new controller. Likewise, the Wii has 4 slots to be able to connect the controls of the Game Cube.
In these times, it goes without saying that the controls are completely wireless, they work with bluetooth technology, the only drawback is having the “batteries” of a lifetime as a battery, although there is the possibility of putting rechargeable batteries or getting a peripheral such as Joytech, which replaces batteries with batteries.
The console:
With a compact, innovative and elegant design, it looks serious compared to the GC. It fits perfectly in any living room at home and has a purely decorative base. At first glance, it is striking that, being compatible with the GC, it only has a single input for discs, through which we can insert the 8 cm discs of the GC or 12 cm discs like those of the Wii. On the back we find 4 ports for the Game Cube controls with 2 inputs for the memory cards of the same console. It also has inputs for “SD memory card” cards, with which we will increase the memory of the console, and work as a means to view our videos, photos or listen to music on our Wii.
The Wii has Wi-Fi technology, although it is possible to connect it via Lan, using an adapter for its USB2 input. If we don’t have a Router, we can use Nintendo Wi-Fi (it was initially released for the Nintendo DS), which is fully supported. It should be noted that the Wii is never turned off, but in a “latent” state, it is highly recommended to always keep it connected to the internet, since while we are “sleeping” the console will be receiving updates, messages from friends or other types of downloads on background. Thanks to Bluetooth we can connect with our Nintendo DS, thus adding a touch screen to our Wii, and giving the possibility to create new ways of playing, as well as the GBA and GC. Along with the console comes a bar with the movement sensor, this must be placed on top or “in front” of the television where we are going to play.
Wii Channels:
For these times, in which with a console you can play, connect to the internet, watch movies, etc… A friendly and easy-to-use environment is extremely important to take advantage of all the qualities of our console and video games. To distribute all the possibilities that the Wii offers us, Nintendo has opted for Wii Channels as a menu.
Some of these channels come pre-installed, others will be added over time, or you can add channels “in the form” of downloaded games yourself. Let’s look at some of these channels:
Mii Channel : | One of the most pleasant surprises of the Wii, here we create our characters, in our image and likeness. These characters interact and participate in numerous games, also performing the memory card function. It is possible to record them in the remote’s memory to take them to any friend’s house. The Miis live in the square, although they can also go to visit “squares” of other Wiis or visit yours (a friend’s Mii), so you can be playing a game of tennis against any friend’s Mii while your friend is at work, or see among the public the Miis of acquaintances together with those of your place. This is one of the reasons why the Wii is never turned off, but “hibernating”. Your own Miis will pass through to other Wiis if you wish (activating the WiiConnect24). Mention that you can have “as many Miis as you want”, so when any family member or friend comes, they will already have their character with their statistics on the console. |
| Channel Photos : | As it could not be missing in the new generation, here you can see and edit photos and videos that you have on your SD memory cards. |
| Wii Shop Channel: | In this channel you will be able to buy, based on Wii Points, classic games from many systems, such as Megadrive, Turbografx, Nes, Super Nintendo, Nintendo 64… Retro compatibility is guaranteed. It is also the general download point, whether for paid games or free programs. The games that you download will appear in one of the cells of the main menu, this menu only has 48 cells, there is no need to worry about occupying them all, since when a game has been downloaded it can be deleted and re-downloaded as many times as you want free. |
| Weather Channel : | As its name suggests, the weather is in your hands, but with a really attractive interface (a 3D globe) and really intuitive handling thanks to our Wiimote we can see the weather anywhere in the world. |
| News Channel: | Yes, it is exactly what you think, the news updated to the minute via the internet. This is one of the channels that show that the Wii is focused on all audiences. |
| Internet channel: | You have succeeded again, internet with the Wii in a really successful way, Google, blogs or ourselves, Infoconsolas.com on your Wii. |
| Channel Opinions: | This is one of those channels that from Infoconsolas.com we limit ourselves to calling it “curious”, although many people can also say that it is filler. |
Wii, the gaming experience.
Added aside, what really matters in any console is what you are going to enjoy with its games, be it for its incredible graphics, its originality, its online possibilities, etc…
Nintendo had already warned from the beginning that they were not looking to have the console with the best graphics, for Nintendo fun was much more important, and as has been shown on many occasions before, graphics are not a determining factor when it comes to a console. succeed
(NeoGeo vs Snes or Megadrive // Game Gear or Lynx vs Game Boy). Being aware of this “declaration of principles”, we must analyze the game experience as a whole, with its pros and cons, but with a more open mind than what we usually have in the world of video games, it is difficult to explain to you. what it feels like to play the Wii, from Infoconsolas.com we strongly recommend that you try it, we will also try to get you used to the idea, or at least to know our point of view:
As soon as you turn on the console from your wireless controller, you access a really simple menu, but friendly and elegant, nice would be the adjective that best defines it, from that moment you can get an idea of what the Wiimote will be able to offer, you play to turn your wrist, select with the pointer… When you insert the Wii disc (any game) you see how a light comes on with a bluish tone and the disc is inserted automatically, a detail that although it seems silly is really achieved (it is very good for visits).
And it is at the moment of starting to play any Wii game, where the most disparate feelings are unleashed, based mainly on 2 possibilities:
- I have a tube TV like the ones of a lifetime
- I have a high definition flat screen
First of all, it must be said that the sensation of the game thanks to the new controls is what Nintendo had promised, the games that are based on the novelty of the Wiimote are, as a general rule, very entertaining (what a crappy expression) and offer what is expected. waiting for them, fun, fun and more fun, playing tennis, bowling, Wario minigames, flying a plane by tilting the controller or playing golf doing the same movements as in real life is very well done and except for some error of Recognition that normally is for not having the minimum distance of one meter from the television, you will enjoy like children. The problem is when the game is not made specifically for the Wii, and it is a conversion that you can also find on the PS3 or XBOX 360, whether it is a Need for Speed or a Call of Duty, there, apart from the fact that there is the Possibility that handling with the new controls is not as successful as with the controls of a lifetime, you see possibly the biggest “hack” of the Wii, the lack of high definition.
Knowing that the concept of the Wii is not the same as that of its competitors, and that its price is much lower than theirs, we are not going to demand the same textures, light effects or number of polygons, but in this aspect Nintendo has fallen a bit “short”, a bit much, but as we said before, this is more or less evident depending on the television:
I have a tube TV like those of a lifetime: Well then you’re in luck kid, when you compare a game that has also been released on the PS3 or 360 it will not be the same, but it is more than enough, in general the controls replace perfectly that lack of graphics and for more or less polygons that they put you will have the same definition, so there really is not that much difference, you will enjoy a graphic quality superior to the Game Cube (which is already enough) without equaling the 360 or PS3. You will see perfectly great games like Mario Kart or Zelda and you will enjoy them to the fullest.
I have a high-definition flat screen: Uff… well, that’s up to you, but you’re not going to see much in high-definition, on the contrary, you’re going to notice that in games that in theory have to have better graphics (more realistic ) a pixelation that you did not see in your old tube screen, it will not be in all, but it is evident when you try to be the graphics more realistic, and do not compare them with a 360 or PS3 on your same screen, because you have everything to lose. It’s a shame that the Wii fails in this aspect, compared to the new generation, on a flat screen, the Wii can do little in terms of graphics, simply because it is focused on the vast majority of the population at the time of its launch, that is, to the average family that has a tube screen in their dining room or in the room where the console will be. It is an option by intelligent Nintendo to lower costs and make it cheaper for us, but for all those people who invested money thinking about enjoying the new generation graphics, it is not the best option.
Another aspect that should be highlighted, and not entirely for the better, is its online mode, on the one hand totally free, but on the other not as used in its titles as that of its competitors.
In summary…
The Wii, in terms of value for money, is a great console, if you are looking for something different from what we have been playing for more than 30 years (with the exception of the Xavix) this is your console, but if what you are looking for are state-of-the-art graphics , especially on your high definition TV, may not be the best option.
Graphics aside, the Wii fulfills everything promised, and perhaps the most recommendable thing for the gamer of a lifetime is to have the Wii and an XBOX 360 or PS3 (if you can afford it), if the money is not enough to have two consoles of new new generation you can always look on Ebay in the second-hand market. For occasional players, the Wii is a perfect console, and perhaps the only one that in most of its titles you can play with your family or those friends or guests who think that a console is only for children, as Nintendo already told us, with This console brings videogames to a much broader market, a new and original console with a “single” noteworthy drawback.
We hope we haven’t discouraged those “elite” gamers, as the Wii is a great console, just be aware that the Wii is a console with a different concept just like the DS. We can’t really compare it with the PS3 or XBOX 360, since they are different ways of watching video games, without this implying that it is a better or worse console.
END OF THE ORIGINAL ARTICLE OF 2007 IN INFOCONSOLAS
External sources and links
- Technical characteristics extracted from Wikipedia
- Console graphic resources:
- https://commons.wikimedia.org/wiki/User:Evan-Amos
Si cree que algún contenido infringe derechos de autor o propiedad intelectual, contacte en [email protected].
Copyright notice
If you believe any content infringes copyright or intellectual property rights, please contact [email protected].